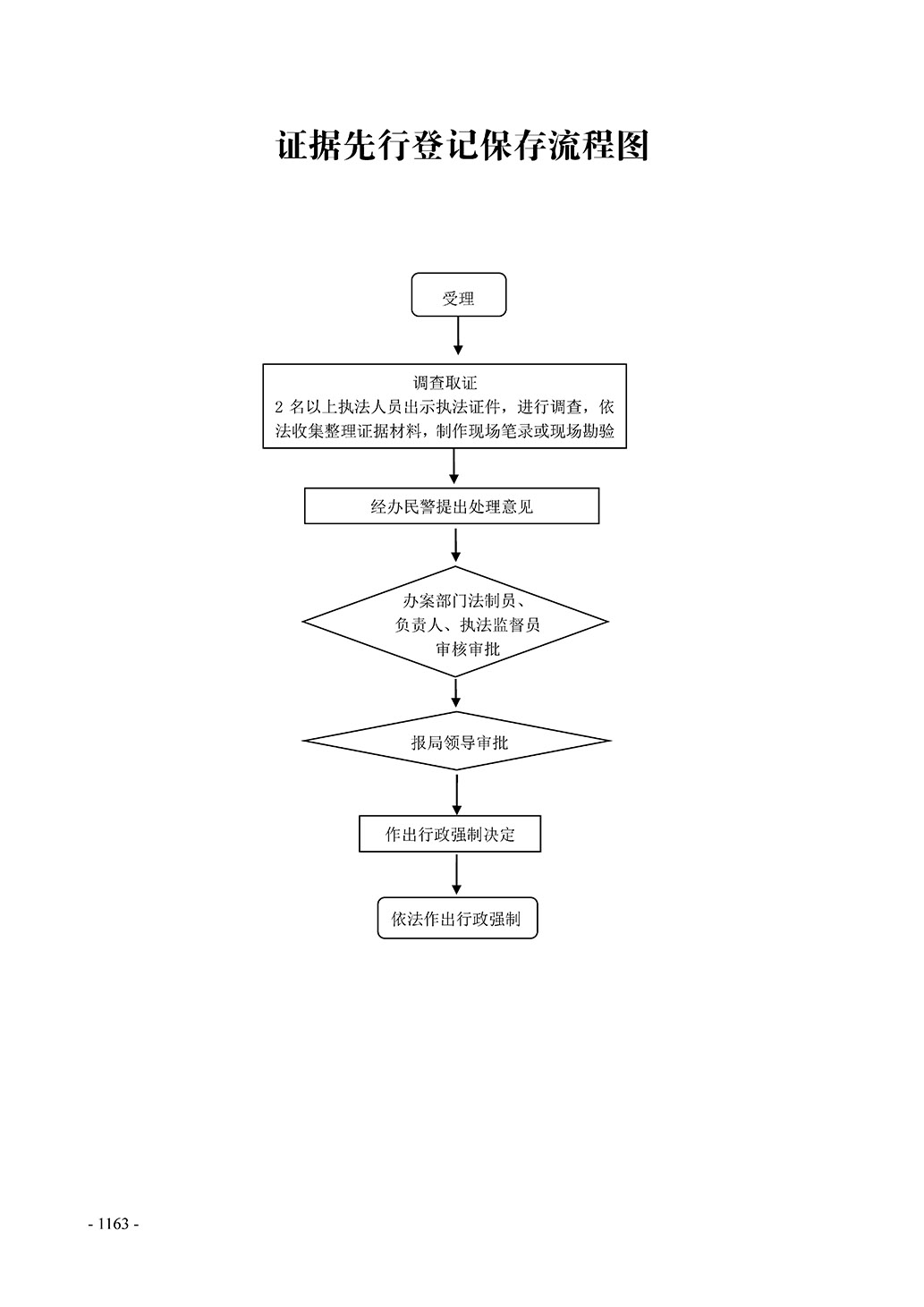
证据先行登记保存
基本信息 运行流程图 风险防控图
  
权力清单责任清单
            注
职权类别职权编码职权名称职权依据责任事项追责情形追责依据追责形式
项目
行政强制73193672-6-QZ-0201证据先行登记保存【法律】《中华人民共和国行政处罚法》第三十七条第二款1、承办责任:在证据可能灭失或者以后难以取得的情况下,未经行政机关负责人审批而先行登记保存。2、审批责任:办案中不按规定审批。3、送达责任:未送达或未及时送达手续。4、其他法律法规规章文件规定应履行的责任。因不履行或不正确履行行政职责,有下列情形的,相关工作人员应承担相应责任:
            1、在证据可能灭失或者以后难以取得的情况下,未经行政机关负责人审批而先行登记保存;
            2、违反法定程序办理的;
            3、工作中玩忽职守、滥用职权的;
            4、其他违反法律法规规章文件规定的行为。
1、《公安机关人民警察纪律条令》第十二条第三款。2、《行政机关公务员处分条例》第二十五条第五款。3、《行政机关公务员处分条例》第二十条第四款一、行政处理                                                                                       1、诫勉谈话或者责令书面检讨;
            2、通报批评;
            3、暂扣行政执法证件;
            4、责令离岗培训;
            5、调离执法岗位
            6、取消执法资格;
            7、依法追偿部分或者全部行政赔偿费用。
            二、行政处分:警告、记过、记大过、降级、撤职、开除。
            三、党纪处分:警告、严重警告、撤销党内职务、留党察看、开除党籍。                                   四、其他法律责任