| 权力清单 | 责任清单 | 备 注 |
|||||||
| 职权类别 | 职权编码 | 职权名称 | 职权依据 | 责任事项 | 追责情形 | 追责依据 | 追责形式 | ||
| 项目 | |||||||||
| 行政处罚 | 01269568-X-CF-0026 | 对旅行社不向接受委托的旅行社支付接待和服务费用的,旅行社向接受委托的旅行社支付的费用低于接待和服务成本的,接受委托的旅行社接待不支付或者不足额支付接待和服务费用的旅游团队的处罚 | 【法规】《旅行社条例》(国务院令第550号)第六十二条 | 1.立案责任:有违法行为发生(有证据初步证明涉嫌违法)并应予以处罚的,应予以立案查处;对不予立案的,应及时告知。 2、调查责任:依法收集证据,经过查证属实才能作为认定案件事实的依据;违法事实不清的,不能给予行政处罚。3、审查责任:对案件违法事实、证据、调查取证程序、法律适用、处罚种类和幅度、当事人陈述和申辩等材料进行审核,提出审查意见。 4、告知责任 :在作出行政处罚决定之前,应书面告知当事人违法事实及其享有的陈述、申辩和要求听证的权利。 5、决定责任:根据审理情况决定是否予以行政处罚。依法需要给予行政处罚的,制作行政处罚决定书。 |
1.不具备行政执法资格实施行政处罚的; 2.没有法律和事实依据实施行政处罚的; 3.违反规定设立处罚种类或者改变处罚幅度的; 4.违反法定程序进行处罚的; 5.应当依法移交司法机关追究刑事责任而不移交的; 6.对应当予以制止和处罚的违法行为不予制止、处罚的; 7.符合听证条件、行政管理相对人要求听证,应予组织听证而不组织听证的; 8.其他违法实施行政处罚的。 |
1.《行政处罚法》第五十五条; 2.《行政处罚法》第五十八条; 3.《行政处罚法》第六十二条; 4.《中华人民共和国旅游法》第一百零九条; 5.《旅行社条例》第六十六条。 |
一、行政处理 1、诫勉谈话或者责令书面检讨; 2、通报批评; 3、暂扣行政执法证件; 4、责令离岗培训; 5、调离执法岗位 6、取消执法资格; 7、依法追偿部分或者全部行政赔偿费用。 二、行政处分:警告、记过、记大过、降级、撤职、开除。 三、党纪处分:警告、严重警告、撤销党内职务、留党察看、开除党籍。 四、其他法律责任。 |
||
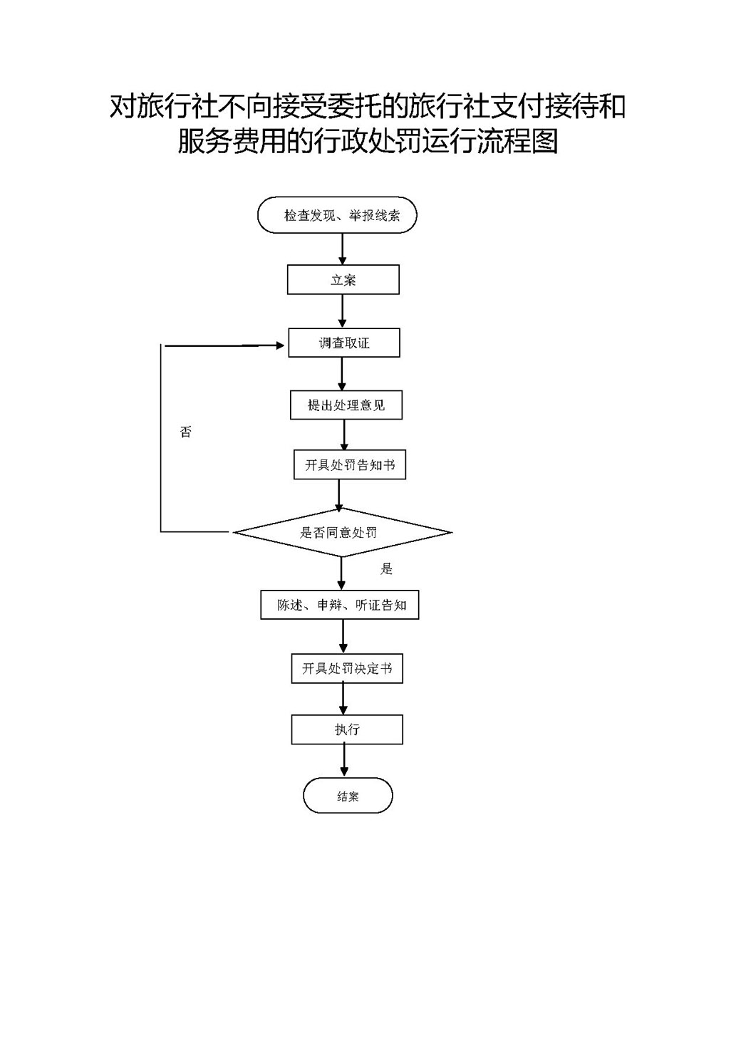
对旅行社不向接受委托的旅行社支付接待和服务费用的,旅行社向接受委托的旅行社支付的费用低于接待和服务成本的,接受委托的旅行社接待不支付或者不足额支付接待和服务费用